ROMA – Altro che bendgate, il caso montato nelle scorse settimane sui nuovi iPhone 6 che si piegano in tasca. A quanto pare la Apple ci sta pensando sul serio a creare uno smartphone curvo. E ha già registrato un brevetto negli Usa nel quale si parla di “dispositivi elettronici flessibili”.
La licenza descrive un device portatile, come un iPhone, che si può curvare e anche ripiegare su se stesso senza che schermo e componenti interne subiscano danni. Il dispositivo può ricevere comandi attraverso la pressione, ad esempio stringendolo nella mano. Inoltre, assorbirebbe meglio l’urto di una caduta.
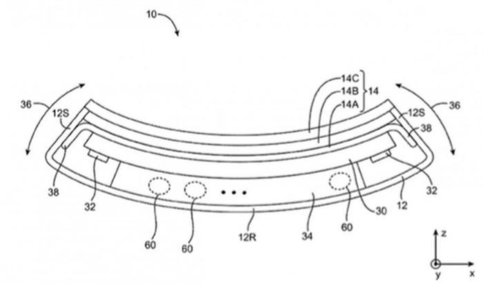
Stando all’autorizzazione concessa dall’ufficio brevetti statunitense, quasi tutte le componenti del dispositivo sarebbero flessibili, a cominciare dal display Oled, ma anche batterie, circuiti e telaio. Al posto dell’alluminio che avvolge gli attuali iPhone, il melafonino del futuro potrebbe essere realizzato in plastica, fibre composite o altri materiali in grado di resistere a una costante flessione.
Intanto alcuni smartphone curvi hanno già fatto il loro debutto sul mercato. Al Ces, la fiera dell’elettronica di consumo in corso a Las Vegas, ad esempio, LG ha presentato il G Flex2. Il device brevettato da Apple tuttavia promette un altro livello di flessibilità, e stando alle immagini può essere curvato fino a piegarlo su se stesso.
(Foto Ansa)



